By Microchip Technology / Atmel 1611
ATMEGA328P-AU is a high-performance, low-power 8-bit microcontroller produced by Atmel. ATMEGA328P-AU has a variety of communication interfaces and timer/counter functional modules, and is widely used in various types of electronic equipment.

Ⅰ.Specification parameters of ATMEGA328P-AU
•Core:AVR
•Package:Tray
•Data RAM size:2 kB
•Package/Case:TQFP-32
•ADC resolution:10 bit
•Program memory size:32 kB
•Number of I2C channels:1
•Number of I/Os:23
•Speed:20MHz
•Number of PWM channels:6
•Data bus width:8 bit
•Height:1 mm
•Length:7 mm
•Width:7 mm
•Processor series:megaAVR
•Maximum clock frequency:20 MHz
•Product category:8-bit microcontroller -MCU
•Number of input/output terminals:23 I/O
•Supply voltage-Minimum:1.8 V
•Supply voltage-Max:5.5 V
•Installation style:SMD/SMT
•Data ROM size:1 kB
•Data Ram type:SRAM
•Core architecture:Voltage regulator
•Data ROM type:EEPROM
•Minimum operating temperature:-40℃
•Maximum operating temperature:+85℃
•Number of ADC channels:8 Channel
•Number of timers/counters:3 Timer
•Trademark:Microchip Technology
•Data converter:A/D 8x10b
•Number of timers/counters:3
•Peripherals:Undervoltage detection/reset, POR, PWM, WDT
Ⅱ.Characteristics of ATMEGA328P-AU
•Advanced RISC Architecture
-Fully Static Operation
-On-chip 2-cycle Multiplier
-Up to 20 MIPS Throughput at 20MHz
-131 Powerful Instructions–Most Single Clock Cycle Execution
•Peripheral Features
-Six PWM Channels
-Two 8-bit Timer/Counters with Separate Prescaler and Compare Mode
-Real Time Counter with Separate Oscillator
-One 16-bit Timer/Counter with Separate Prescaler, Compare Mode, and Capture Mode
•Special Microcontroller Features
-Internal Calibrated Oscillator
-External and Internal Interrupt Sources
-Power-on Reset and Programmable Brown-out Detection
-Six Sleep Modes: Idle, ADC Noise Reduction, Power-save, Power-down, Standby, and Extended Standby
•High Endurance Non-volatile Memory Segments
-256/512/512/1KBytes EEPROM
-512/1K/1K/2KBytes Internal SRAM
-Data retention:20 years at 85°C/100 years at 25°C
-Write/Erase Cycles: 10,000 Flash/100,000 EEPROM
-4/8/16/32KBytes of In-System Self-Programmable Flash program memory
•Power consumption at 1MHz,1.8V, 25°C
-Active Mode:0.2mA
-Power-down Mode:0.1µA
Ⅲ.Main low power consumption modes supported by ATMEGA328P-AU
1.ADC Noise Reduction Mode: When performing analog-to-digital conversion, you can enter this mode to reduce the power supply noise of the ADC.
2.Standby Mode: In this mode, the system clock is turned off, but the external crystal oscillator or clock source keeps running. Wake up via external interrupt or timer.
3.Idle Mode: In this mode, the CPU stops executing instructions, but other modules (such as timers and peripherals) are still running. The microcontroller can be woken up through interrupts.
4.Power-down Mode: In this mode, except for the reset circuit and external interrupt pin, almost all modules are turned off to minimize power consumption. Wake-up usually requires an external interrupt trigger.
5.Extended Standby Mode: Similar to Standby mode, but also turns off the external clock source to further reduce power consumption.
6.Power-save Mode: Similar to Idle mode, but it turns off more modules, including timers/counters and serial port modules, to reduce power consumption. Likewise, it can be woken up by interrupts.
7.Power Reduction Register: By setting the Power Reduction Register, certain specific modules can be selectively turned off to achieve more precise power consumption control.
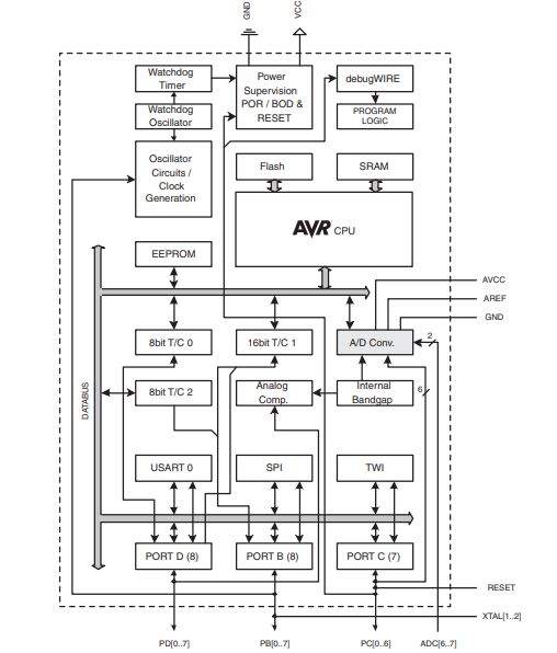
Ⅳ.Block Diagram of ATMEGA328P-AU

Ⅴ.Application fields of ATMEGA328P-AU
1.Arduino development board: The Arduino Uno development board uses the ATMEGA328P-AU microcontroller, which is an 8-bit microcontroller based on the AVR RISC architecture. ATMEGA328P-AU has high performance and low power consumption, and provides a variety of communication interfaces and timer/counter functional modules, making the Arduino development board have a wide range of applications.
2.Educational use: In the field of education, the Arduino platform and ATMEGA328P-AU microcontroller have indeed become ideal choices for learning embedded systems and programming. The ATMEGA328P-AU microcontroller has rich functional modules and powerful performance, which can meet the needs of various educational projects. By using ATMEGA328P-AU, students can learn the basic principles of embedded systems, digital and analog signal processing, and the use of communication interfaces.
3.Motor control: The PWM output function of ATMEGA328P-AU can be used to control DC motors or stepper motors to achieve precise speed and position control. By programming the PWM output of ATMEGA328P-AU, a pulse signal with an adjustable duty cycle can be generated to control the speed of the DC motor. Likewise, PWM signals can also be used to control the step angle and direction of a stepper motor.
4.Sensor control: The analog input pins of ATMEGA328P-AU can be connected to various sensors to obtain environmental data, such as photoresistor, temperature sensor, humidity sensor, etc. Sensors play an important role in various applications. They are able to detect and measure various parameters in the environment and convert these parameters into processable signals. By connecting to the analog input pins of ATMEGA328P-AU, the sensor can convert the detected analog signal into a digital signal for processing and analysis by the microcontroller.
5.Home automation: In home automation systems, ATMEGA328P-AU can be used to control and monitor various devices, such as smart lighting, door locks, thermostats, etc. By programming, the ATMEGA328P-AU can receive input from a variety of sensors and respond based on preset rules or algorithms, such as automatically adjusting lighting brightness based on the intensity of ambient light, or automatically opening or closing a door lock based on time.
6.Electronic DIY projects: In electronic DIY projects, ATMEGA328P-AU can be used as the core controller, responsible for receiving and processing signals from sensors, buttons or other input devices, and driving output devices such as motors and LED lights. Through programming, various complex functions can be realized, such as motion control, sensor monitoring, logic operations, etc.
7.Embedded network equipment: ATMEGA328P-AU can be used as a microcontroller for embedded network equipment. Through its serial communication interface, it can communicate with other devices or networks to transmit and receive data. In sensor network nodes or IoT devices, ATMEGA328P-AU can serve as the core of data collection and processing. It can be connected to various sensors, such as temperature sensors, humidity sensors, light sensors, etc., to monitor environmental parameters or status changes.
Ⅵ.Main functional configuration of ATMEGA328P-AU Pins
1.Digital I/O: Pins can be configured as digital inputs or outputs. In digital input mode, it can read external digital signals, while in digital output mode, it can output digital high or low levels.
2.PWM output (Pulse Width Modulation): Some pins support PWM output, which can be used to generate adjustable pulse width modulation signals, usually used to control motor speed, LED brightness, etc.
3.Analog Input: Pins can be configured as analog inputs for connecting analog sensors or measuring analog signals. The ATmega328P-AU has a certain number of analog pins, usually used for analog-to-digital conversion (ADC).
4.JTAG interface: If not disabled, some pins can be used to connect the JTAG debug interface.
5.Serial Communication: Pins can be configured for serial communication, including UART communication, SPI communication and I2C communication, for data exchange with other devices.
6.External interrupt input: The pin can be configured as an external interrupt input, which is used to trigger an interrupt and wake up the microcontroller when the pin status changes.
7.Timer/Counter Input: Pins can be associated with timer/counter modules for measuring pulse width, frequency, etc.
8.Reset Pin: The pin can be used as a reset pin to reset the microcontroller to its initial state.
Ⅶ.Alternate model of ATMEGA328P-AU
•ATMEGA328
•ATMEGA328P-MU
•ATMEGA328P-PU
Ⅷ.Special configurations or differences that need attention for ATMEGA328P-AU
1.Clock source configuration: ATMEGA328P-AU supports multiple clock sources, including internal RC oscillator, external crystal oscillator and external clock source. When getting started, make sure to configure the clock source correctly and adjust the clock frequency according to your application needs.
2.Power supply and voltage: The operating voltage range of ATMEGA328P-AU is 1.8V to 5.5V. Make sure to provide the correct supply voltage to the chip and consider supply current and stability in the power supply.
3.EUSART communication baud rate: If using USART for serial communication, make sure to configure the correct baud rate to ensure normal communication with other devices.
4.Pin mapping: Different packages of ATMEGA328P (such as -AU and -PU) may have differences in pin assignments. Make sure you understand the pin mapping of the package you are using so you can connect external circuitry correctly.
5.Extended functions: ATMEGA328P-AU supports many extended functions, such as EEPROM, timers, interrupts, etc. Learn how to properly configure and use these features based on your application needs.
6.Fuse Bits configuration: Especially in die packages, some key microcontroller settings can be configured by burning Fuse Bits, such as clock frequency division, enabling or disabling the JTAG interface, etc. Make sure these bits are set correctly to meet your specific application needs.
Frequently Asked Questions
1.How many I/O pins does the ATMEGA328P-AU have, and what are they commonly used for?
The ATMEGA328P-AU has a total of 23 general-purpose I/O (GPIO) pins, which can be configured for various functions such as digital input/output, analog input, PWM output, serial communication, and more.
2.What is the difference between ATMEGA328P and ATMEGA328P-AU?
The -AU and -PU suffixes on the part name indicate different packages. The former is used for the "32A" package (32-lead TQFP), and the latter is used for the "28P3" package (28-lead DIP). In plain English, the -AU is a surface-mount part, and the -PU is a breadboard-friendly chip.
3.What is the main purpose of ATMEGA328P-AU microcontroller?
The ATMEGA328P-AU microcontroller is designed for various embedded systems and electronic applications. It is commonly used in projects ranging from DIY electronics to professional developments, and it serves as the main microcontroller in the popular Arduino Uno development board.